Боеприпас для поражения БПЛА из подствольного гранатомета усовершенствовали

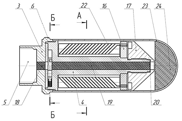
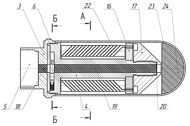
В Новосибирском государственном техническом университете модернизировали конструкцию боеприпаса для подствольных гранатометов, предназначенного для поражения низколетящих беспилотников. Разработанное решение повысило надежность и эффективность срабатывания боеприпаса, следует из патентной документации, опубликованной на сайте Федерального института промышленной собственности.
Авторы разработки пояснили, что существующие боеприпасы для борьбы с дронами используют сеть из прочных нитей, спрятанную внутри корпуса. Однако их ключевой недостаток заключается в том, что при развертывании сеть часто спутывается, что снижает вероятность успешного поражения цели.
"Техническим результатом предлагаемой полезной модели является усовершенствование работы механизма разворачивания сети, обеспечивающая гарантированное получение поражающей поверхности без спутывания", - говорится в документе.
Чтобы добиться этого, ученые предложили усовершенствованный предохранительный механизм с задвижкой и стопором. Перед выстрелом задвижка фиксируется, смещая капсюль-воспламенитель и исключая случайное срабатывание. При запуске пиротехнический состав горит с заданной скоростью, обеспечивая точный момент раскрытия сети. После выгорания состава отделяется сбрасываемый стакан, а грузы в нише устройства "разбегаются" по кругу, разматывая намотанные на них нити, благодаря чему сеть быстро разворачивается.
Данная разработка лишний раз демонстрирует, что подствольный гранатомет, долгое время остававшийся средством поражения живой силы и легкобронированной техники, постепенно превращается в элемент эшелонированной противодронной обороны подразделения. При этом ключевой задачей конструкторов становится не создание принципиально новых систем, а "вписывание" противодронных средств в существующие эргономические и баллистические стандарты, что позволяет интегрировать их без изменения привычных боевых порядков.
С технической точки зрения новосибирские ученые решили проблему, которая долгое время снижала эффективность сеточных боеприпасов - спутывание сети при выстреле. Внедрение механизма с центробежным развертыванием грузов обеспечивает гарантированное раскрытие поражающей поверхности, что критически важно при перехвате низколетящих FPV-дронов, когда от надежности боеприпаса зависят жизни людей.
Учитывая массовое распространение подствольных гранатометов в войсках, подобная доработка позволяет без дополнительных затрат на перевооружение повысить боевые возможности подразделений в борьбе с малоразмерными беспилотниками на малых дистанциях.

- Новости » Боеприпасы
- Ronin1470
Оружие и боеприпасы
Комментарии
Добавлять комментарии могут только зарегистрированные пользователи